一、用途及性能规范
“高温高压电站闸阀”也称电站专用阀门,主要适用于火力电站各种系统的管路上,切断或接通管路介质。适用介质:水、蒸气等非腐蚀性介质。
电站阀门与其他阀门产品相比的特点是高温高压,独特的自密封设计,压力越高,密封越可靠。由于性能技术特性、工况的特殊使产品也形成了其他产品所替代不了的特点。
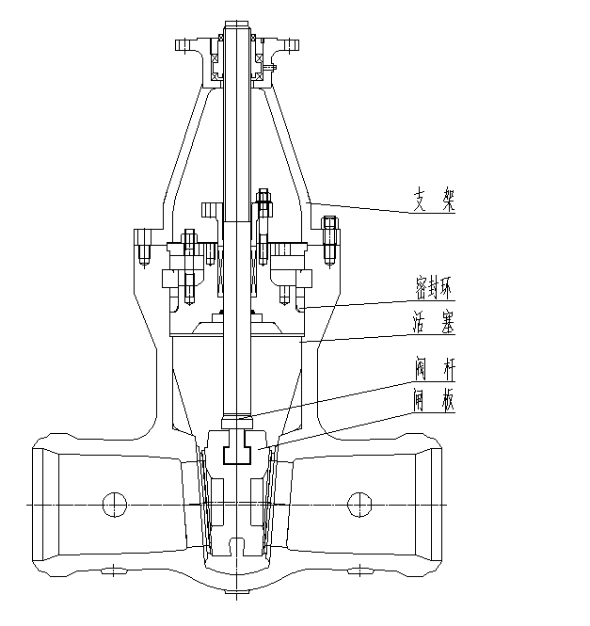
闸阀的启闭件是闸板,闸板的运动方向与流体方向相垂直,闸阀只能作全开和全关,不能作调节和节流。闸板有两个密封面,最常用的模式闸板阀的两个密封面形成楔形、楔形角随阀门参数而异,楔式闸阀的闸板可以做成一个整体,叫做刚性闸板;也可以做成能产生微量变形的闸板,以改善其工艺性,弥补密封面角度在加工过程中产生的偏差,这种闸板叫做弹性闸板。闸阀关闭时,密封面可以只依靠介质压力来密封,即依靠介质压力将闸板的密封面压向另一侧的阀座来保证密封面的密封。大部分闸阀是采用强制密封的,即阀门关闭时,要依靠外力强行将闸板压向阀座,以保证密封面的密封性。
二、优点
1、采用用流道等径直通结构,极大降低了流阻系数与能量的损耗,显著提高了阀门使用寿命和性能。
2、阀门中腔采用压力自紧式密封结构,密封性能好。
3、闸板与阀座密封面采用硬质合金堆焊而成,耐磨、耐高温、耐腐蚀、抗擦伤性能好。
4、阀杆表面经抗蚀性氮化处理,有良好的抗腐蚀性合抗擦伤性。
5、启闭件的结构可根据用户要求设计成单板、双板、平行双板等不同形式。
三、设计规范
1.设计标准
设计与制造 GB/T12234 ASMEB16.34
结构长度 JB/T3595 GB/T15188 GB/T12221
接口连接尺寸 JB/T3595 GB/T12224
检验与试验 JB/T3595 MSS SP61
压力与温度基准 JB/T3595 ANSI B16.34
2、高温高压电站闸阀主要压力等级
公称压力 200、250、320
工作压力P 54 100V、P 54 140V、P 54 170V
3. 高温高压电站闸阀相关标准
JBT 3595-2002电站阀门 一般要求
JB/T 5263-2005 电站阀门铸钢件技术条件
JB/T 4018 电站阀门 型号编制方法
DL 959-2005 电站锅炉安全阀应用导则
DLT 531-1994电站高温高压截止阀闸阀技术条件
DLT 641-2005 电站阀门电动执行机构
DLT 850-2004 电站配管
GB 10869 电站调节阀技术条件
GBT 10868-2005 电站减温减压阀
四、零部件材料
阀体:WCB ZG20CrMoV A105 WC6 WC9
内件:20# 12Cr1MoV
五、安装
此系列阀门应垂直安装,也可水平安装。
六、维护、保养和使用注意事项
1、阀门应存放在干燥、通风的室内,阀门两端应堵塞。
2、长期存放的阀门应定期检查,清除污物。应特别注意密封面的清洁,防止密封面的损坏。
3、安装前应仔细核对阀门标志是否与使用要求相符。
4、安装前应检查阀门内腔和密封面,如有污垢,应使用清洁布擦拭干净。
5、阀门使用后应定期检查,检查主管道密封面以及旁通密封面。若损坏失效,应及时修理或更换。
七、主要外形
